Novi artikli
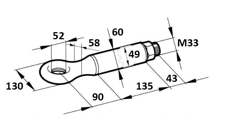
VLEČNA KLJUKA VRTLJIVA FI52 14.000/3.000KG
Šifra:
10217
OEM:
9990000001521
Stopnja davka
22 %
Cena brez DDV:
55,74 EUR
Cena z DDV:
68,00 EUR
Ref:
23
Vlečna kljuka vrtljiva fi 52 ima vlečno zmogljivost 14000 kg. Uporablja se za kiper prikolice, trosilec, nakladalke in za tovorne prikolice.

Dobavitelj:
Italija
Vlečna zmogljivost:
14.000 kg
Vertikalna obremenitev:
3.000 kg
Vračilo ali menjava:
14 dni
Teža izdelka:
7,18 kg
Garancija:
6 mesecev
Premer:
Φ 52 mm





