Novi proizvodi
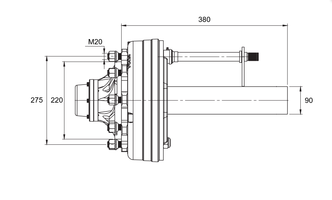
POLUOSOVINA S KOČNICAMA - 5000 kg (8 VIJAKA) - 380 mm
Šifra:
14656
OEM:
9990000175697
Stopa poreza
22 %
Cijena bez PDV:
282,79 EUR
Cijena sa PDV:
345,00 EUR
Ref:
4
| Tehničke informacije | |
| Dobavljač: |
Turkye |
| Povrat ili zamjena: |
14 dana |
| Jamstvo: |
6 mjeseci |
| Dužina: |
380 mm |
| Nosivost: |
do 5000 kg |
| Promjer osovine: |
90 mm (kvadratni) |
| Broj vijaka: |
8 |
Opis
Poluosovina je namijenjena za upotrebu na različitim vrstama prikolica s kočionim sustavom. Dužina poluosovine je 380 mm, s nosivošću do 5000 kg.
Zahvaljujući svojoj robusnoj izradi i pouzdanom dizajnu, prikladna je za upotrebu na teretnim i radnim prikolicama, industrijskim šasijama, transportnim konstrukcijama i drugim tehničkim rješenjima gdje je potrebna stabilna i trajna potpora kotačima.
Poluosovina omogućava upotrebu standardnih felgi s osam vijaka i omogućava jednostavnu montažu.



%20-%20380%20mm.jpg)


